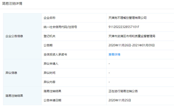
企查查数据显示,天津狗不理餐饮管理有限公司经营状态变更为注销,注销日期为3月17日,注销原因为决议解散。该公司曾于2020年11月25日进行简易注销公告,公开期为2020年11月26日至2021年1月9日。



天津狗不理餐饮管理有限公司成立于2015年3月,注册资本50万人民币,法定代表人为张彦森,经营范围包括餐饮管理、餐饮服务、会议服务、预包装食品兼散装食品批发兼零售。

根据股权穿透图显示,天津狗不理餐饮管理有限公司系狗不理集团股份有限公司独资子公司,而狗不理集团股份有限公司第一大股东张彦森为天津狗不理餐饮管理有限公司实控人及最终受益人。
另外值得注意的是,除了近期注销的天津狗不理餐饮管理有限公司外,据企查查数据显示,狗不理集团股份有限公司旗下狗不理餐饮连锁(北京)有限公司、天津狗不理东湖大酒店有限公司、天津狗不理大酒楼有限公司等十数家子公司此前也进行了注销。
狗不理创于1858年,拥有160余年历史,2006年,狗不理被商务部认定为首批中华老字号,“狗不理包子”、“十八街麻花”、“耳朵眼炸糕”并称天津三绝。
“狗不理”商标持有人狗不理集团股份有限公司成立于1991年10月,注册资本为7500万人民币,2005年,经过改制及股权转让后,张彦森成为狗不理的实控人,目前持股比例为60.99%。
虽然是百年老号,但“高昂”售价与不相匹配的品质成为了狗不理的绊脚石。此前,很多网友曾在社交网站表示:一个便宜的“狗不理”包子动辄五六元,贵的可达二三十元。2020年9月,微博博主“谷岳”对北京王府井狗不理餐厅进行实地探访,店内包子品质、服务以及菜品价格等方面给予负面评价,引发网友热议,并且网友视频表示认可,直言“价格贵,服务态度也不咋样,味道也一般般”,狗不理被打上了“难吃又贵”的差评标签。
差评则导致客流锐减,狗不理门店接连关闭,而狗不理集团2012年冲刺IPO失败,旗下天津狗不理食品股份有限公司也在2020年宣布从新三板退市。
| 社会聚焦






