中国网科技11月9日讯 日前,天眼查披露,小霸王文化发展有限公司被申请破产重整,申请人为殷小云,案号为(2020)粤20破申131号,经办法院为广东省中山市中级人民法院。

来源:天眼查
据了解,小霸王文化发展有限公司旗下品牌“小霸王”,其原身是中山市小霸王公司,始建于1987年,专业从事教育类电子产品的开发研究、生产和销售。天眼查显示,小霸王文化发展有限公司的股东包括中山市威信置业有限公司、广东益华百货有限公司以及陈士国。
另外,小霸王文化发展有限公司于11月6日,新增两条被执行人信息,案号分别为(2020)粤2071执17328、(2020)粤2071执17329,执行法院均为中山市第一人民法院,执行标的分别为115603、115770。
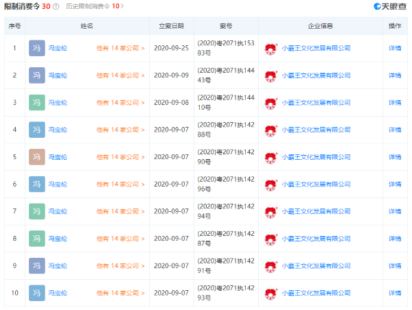
此外,小霸王文化发展有限公司法定代表人、执行董事及经理冯宝伦收到的“限制消费令”达30条。

| 创新科技






